德州扑克

师生党员抗“疫”记
您现在的位置: 德州扑克 > 党群工作 > 师生党员抗“疫”记 > 正文

【教师篇】建设课程网站,探索互动新模式

发布时间:2020-03-20 21:02    浏览次数:    来源:

建设课程网站,探索互动新模式

 

从零开始 不断探索

《数值分析》课程负责老师陈高洁和郑光辉选择利用超星平台打造一门在线课程。虽然从未建立过在线课程,但两位老师积极参与在线教学培训,逐步摸索出一些在线学习的心得。而且从长远考虑,他们计划借此机会打造一种自主、自由、高效的线上线下混合教学模式,所以建设在线课程是一次有益的尝试。打定主意以后,他们进行了分工,由陈高洁老师负责《数值分析》的在线课程录课任务,郑光辉老师负责编写配套的课堂习题,两位老师共同负责批改作业,交流和总结经验,不断改进。

攻坚克难 渐入佳境

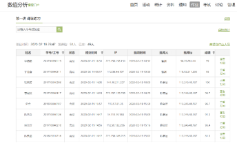
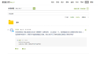
课程录制:考虑到教学平台的稳定性,《数值分析》课程采用录课加QQ群答疑互动的模式。录课除了需要学习如何操作软件之外,更大的困难在于如何在没有学生互动的情况下把课讲好。这个困难反而促进教师更加深入思考,把课程内容安排的更合理来适应在线教学;同时,同一段内容可能需要录三遍、四遍,甚至更多遍。有时可能是一句话没说好,有时可能是想到更好的例子。反而使教学过程中语言的组织会更严谨。这样精心准备的课程内容,比平时课堂教学多了精准性,课堂语言也更简洁有力。

习题编制:课堂练习也是在线教学的重要内容。习题不仅要适合课程教学进度题,还要配合录课的内容来设置难度。习题不仅要覆盖课程内容,还要测试出学生是否掌握了重要知识点。这对郑光辉老师提出了很高的要求。郑老师身在老家,网络不好,资料也不齐全,需要付出更多的时间、精力来编写课堂练习题。

再接再厉 获得认可

在录制好课程视频,编好练习题后,两位老师也会及时进行相关交流和讨论,并不断完善和修改。

在第一次在线试课后,他们开展了问卷调查。37人参与问卷调查,其中15人认为第一次试课学习效果比传统课堂学习要好,22人认为和传统课堂学习效果一样。第一次在线试课得到了学生们的认可。

 

疫情期间,陈高洁和郑光辉老师在实践中不断总结经验教训,不断提升实践效果,是一次对推进教育信息化的有益尝试,为打赢这场防疫阻击战做出了贡献。

 

 

德州扑克-德克萨斯扑克 版权所有©2017年     通讯地址:湖南省长沙市岳麓区麓山南路麓山门     邮编:410082     Email:[email protected]
域名备案信息:[www.dzpuke1.com,www.hnu.cn/湘ICP备05000239号]      [hnu.cn 湘教QS3-200503-000481 dzpuke1.com  湘教QS4-201312-010059]